Шланг системы рециркуляции картерных газов для 3.0 ASN двигателя

Аватар пользователя
getrichordietrying
Новичок
Новичок
Сообщений: 20
Зарегистрирован: 14 ноя 2011, 12:17
Темы: 0
Авто: Audi a4 b6 avant 3.0 ASN quattro
Имя:
Статус: Не в сети

Шланг системы рециркуляции картерных газов для 3.0 ASN двигателя

Сообщение getrichordietrying » 22 ноя 2011, 14:26

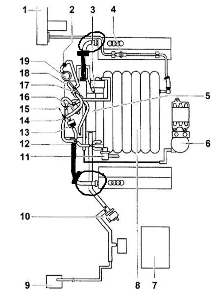
Суть проблемы:

3.0 ASN двигатель. С левой стороны двигателя к правой стороне двигателя идёт простой шланг. :rabota1:

1152.jpg
Повреждённый шланг отмечен чёрным, белым отмечены куски старого.

Снимок.JPG


По всем законам подлости от времени он трескаеться. :evil:
В случае не герметичности данного шланга, происходит потеря герметичности системы отработавших картерных газов, и, в следствии чего, начинает страшно троить двигаетль, по причине не правильного нагнетательного давления в системе обычной подачи воздуха к впускному коллектору. Не знаю почему, но у меня именно так и произошло. :x

Снимок2.JPG
Снимок2.JPG (26.15 KiB) 2567 просмотра


Так вот, можно ли заменить этот шланг другим схожим. Или же на этот движок нужен оригинал? :pray:
Предыдущий владелец походу не сильно парился этой проблемой. Когда полез смотреть более детально, этот долбанный шланг был составлен из кусков других резиновых шлангов. Попытался эти куски убрать и заменить на один длинный резиновый кусок. В итоге получилось что то более герметичное, в начале идёт зажимка к левой стороне движка, затем резиновый шланг длиной на это крепление большего диаметра с хомутиком, затем он идёт к правой стороне движка к такому же креплению и с таким же хомутиком. Суть проблемы в том что, обрезал старый шлагнг почти по самое немогу. Не уверен в герметичности. Если при открытом капоте раскручивать двигатель, слышно как нагнетаеться давление в этом шланге, и в итоге слышно цыканье на обеих сторонах этой самоделки.
Может кто менял, может у кого есть? :pray: :pray: :pray:

Добавлено спустя 20 минут 48 секунд:
Звонил только что на центр ауди. Этот простой шланг сейчас у них стоит 1млн. 880 т. рублей. :D
А я купил себе КАМАЗ. И не жалею. НЕЖАЛЕЮ НИКОГО!

mezen
Наездник
Наездник
Сообщений: 493
Зарегистрирован: 26 июн 2010, 21:44
Темы: 3
Авто: A4 B6 2004 1.8 TQ AMB 6-МКПП
Имя:
Статус: Не в сети

Сообщение mezen » 22 ноя 2011, 18:14

А какого диаметра нужен шланг? Есть ТАЗовские от системы ВКГ довольно неплохого качества (диаметр 22мм., 27мм. внутренний) и за копеечные суммы. Можешь ознакомиться с моей переделкой для 1.8Т, езжу уже около полугода, без вопросов.
viewtopic.php?f=75&t=29856
IHI Turbo 2.0TSI, Front intercooler, Powered by SergeyNik, ET 14,7

Аватар пользователя
getrichordietrying
Новичок
Новичок
Сообщений: 20
Зарегистрирован: 14 ноя 2011, 12:17
Темы: 0
Авто: Audi a4 b6 avant 3.0 ASN quattro
Имя:
Статус: Не в сети

Сообщение getrichordietrying » 26 ноя 2011, 14:21

В общем отчитываюсь.

После долгих поисков шланга системы ЕГР, который расположен за двигателем и соединяет левую и правую сторону двигателя через Т-образник и клапан системы ЕГР, почти везде где только можно а именно:

- на Ауди центре - есть, под заказ через 2 недели - цена почти 2 млн. белю рублей :o
- на Некрасова - есть, не оригинал, через 2 недели под заказ - цена 68-80 евро.
- на разборках в Малиновке, Ждановичах - нету нихрена.
- у частников по автобизносу - нету так же, такое выбрасывают. :evil:

Было принято решение попытаться устранить не герметичность системы и этого шланга путём клонирования его же но на резиновых термостойких и бензиностойких трубках, так же с помощью термоусадочных элементов и термического гермета, ну и конечно, с помошь обычных хомутов.

Вот что вышло:

1. Разобрали времянку котрая заменяла этот шланг.
1.JPG

2.JPG

2. Обрезали левую часть по самое крепление к левой стороне двигателя. На это крепление нанесли герметик, вставили в трубку диаметром 22мм, сверху нанесли термоусадочный кембрик и зажали это дело хомутом.
3.JPG

3. После Т образника который расположен возле клапана, усадили на гермет и на хомуты трубку диаметром 23-25 мм плотно, в неё всунули 22мм трубку от левой стороны двигателя.
4.JPG

4. Ну в принципе и всё, собрали всё назад. Сложность сборки заключаеться в основном в том, что сам резиновый шланг немного толще чем оригинальный пластмассовый, поэтому:
5.JPG

5. Красота, теперь потерь в системе не будет
6.JPG

:yahoo: :yahoo: :yahoo:

Отдельно хочу отметить, огромное спасибо моим друзьям :drinks: , особенно тебя Володя :pray: :pray: :pray: , которые потратили почти целый день на все вышеперечисленные действия. Так же хочу саказать, что этот долбанутый шланг в оригинале стоит почти 2 млн.белочек. 8-) Поэтому что бы не ловить белочек самому и двигатель работал исправно я выложил этот фотоотчот ёпто.
А я купил себе КАМАЗ. И не жалею. НЕЖАЛЕЮ НИКОГО!

mezen
Наездник
Наездник
Сообщений: 493
Зарегистрирован: 26 июн 2010, 21:44
Темы: 3
Авто: A4 B6 2004 1.8 TQ AMB 6-МКПП
Имя:
Статус: Не в сети

Сообщение mezen » 26 ноя 2011, 19:49

Отличная работа, нечего официалам 2 млн. за "шланх" платить!
IHI Turbo 2.0TSI, Front intercooler, Powered by SergeyNik, ET 14,7


Вернуться в «Двигатель»

Кто сейчас на форуме

Количество пользователей, которые сейчас просматривают этот форум: нет зарегистрированных пользователей и 1 гость