ошибка. Как бороться, чек уже надоел......

Аватар пользователя
Yusg
Авторитет
Авторитет
Сообщений: 5433
Зарегистрирован: 12 ноя 2010, 15:02
Темы: 4
Авто: A5Q Sportback 2010 2.0TDI
VIN: wauZZZ8T4
Имя: Сергей
Откуда: Минск
Статус: Не в сети

Сообщение Yusg » 22 фев 2012, 10:00

DIA писал(а):И тачку на недельку не менее надо оставить с полным баком документами
+ пару ящиков хорошей водки и женщин в салоне??? - в чем же причина??? :?
Не важно, что говорят у меня за спиной, главное, что когда я оборачиваюсь все молчат!!!

Аватар пользователя
bykot
Мастер
Мастер
Сообщений: 2961
Зарегистрирован: 06 июн 2011, 11:34
Темы: 24
Авто: A6 C6 3ТDI ATQ, A4(B6),1.8T,6АКПП
Имя: Максим
Откуда: Минск-Синявка
Контактная информация:
Статус: Не в сети

Сообщение bykot » 22 фев 2012, 10:43

Покуда еще ничего не делал, времени нет. Планировал к DIA подъехать, его условия озвучены выше :бухалово: :Laie:
Но можно и самому попробовать посмотреть для начала клапан N80. проверил его работоспособность. Потеплеет, поковыряюсь.
Я вот его снимал 1 раз и обратил внимание, что он как-то может регулироваться вроде как, т.е. в одно из центральных отверстий если вставить плоскую отвертку, то можно покрутить внутри винтик,есть крайние точки.
P.S. ждем тепла и времени
https://www.drive2.ru/r/audi/a6_avant/469035993442288582/

Bob29
Новичок
Новичок
Сообщений: 5
Зарегистрирован: 05 май 2011, 12:14
Темы: 0
Авто: A6
Имя:
Статус: Не в сети

Сообщение Bob29 » 22 фев 2012, 23:52

DIA писал(а):
bykot писал(а):какова цена вопроса? (так как я понимаю это профессиональный секрет )

НА СТАРТЕ ОТ 350УЕ :rofl:
И тачку на недельку не менее надо оставить с полным баком документами. :rofl: :yahoo:


Да... овес нынча дорог, не укупишь... DIA как поддерживать с вами связь?

Bob29
Новичок
Новичок
Сообщений: 5
Зарегистрирован: 05 май 2011, 12:14
Темы: 0
Авто: A6
Имя:
Статус: Не в сети

Сообщение Bob29 » 27 фев 2012, 21:34

DIA, дай пожалста свой телефон, можно в личку.

Аватар пользователя
bykot
Мастер
Мастер
Сообщений: 2961
Зарегистрирован: 06 июн 2011, 11:34
Темы: 24
Авто: A6 C6 3ТDI ATQ, A4(B6),1.8T,6АКПП
Имя: Максим
Откуда: Минск-Синявка
Контактная информация:
Статус: Не в сети

Сообщение bykot » 25 июн 2012, 08:19

16825 Система вентиляции топливного бака: снижение пропускной способности

Наверное, и хочется верить, что поборол я эту ошибку. уже 100км по городу без ее.
Был снят клапан N80, на нем числился номер:

(0 280 142 347) - по каталогам ELSA он числиться за кузовами B5 и C5 на машинках с мощностью до 150 л.с.
А должен был стоять клапан с таким номерком: (0 280 142 353) - за ним числятся машинки с моторами от 150 и выше (1.8Т, 2.4, 3.0) и стоимость его в 3 раза больше чем первого (по экзисту смотрел). У меня авто с двигателем AMB 170лс.
В период поиска оч много клапанов с первым номером и продавцы убеждают, что разницы быть не должно. Но то что нужно было найдено и установлено, идет обкатка. Нашел на разборе просили 20$, отдали за 15$. При покупке и установке, проверил на ВАГом на тесте исполнителей все щелкает, все продувается при щелкании, и не продумвается при отключении питания.
Собственно с разницей в номерах я и связываю, что на трассе у меня было все ОК, без ошибок, а город через км 30, если "топтануть" даже не очень сильно со светофоров сразу выдавал ошибку.
Собственно идет обкатка, попозже отпишусь измениться чего аль нет.
https://www.drive2.ru/r/audi/a6_avant/469035993442288582/

Аватар пользователя
bykot
Мастер
Мастер
Сообщений: 2961
Зарегистрирован: 06 июн 2011, 11:34
Темы: 24
Авто: A6 C6 3ТDI ATQ, A4(B6),1.8T,6АКПП
Имя: Максим
Откуда: Минск-Синявка
Контактная информация:
Статус: Не в сети

Сообщение bykot » 30 июн 2012, 08:42

вчера загорелся чек , ошибки по вентиляции (проехал правда км 200):
16839 - Система вентиляции топливного бака: обнаружена крупная утечка
16825 - Система вентиляции топливного бака: снижение пропускной способности

Раньше была только эта:
16825 - Система вентиляции топливного бака: снижение пропускной способности

Тест в 70 блоке показывает все ок буквально за пару секунд, т.е. купленный клапан вроде как рабочий. покуда курю разные форум по дальнейшим действиям.
https://www.drive2.ru/r/audi/a6_avant/469035993442288582/

Аватар пользователя
Юра 80
Аудивод
Аудивод
Сообщений: 20894
Зарегистрирован: 12 июн 2009, 19:41
Темы: 423
Имя:
Статус: Не в сети

Сообщение Юра 80 » 30 июн 2012, 08:49

bykot писал(а):16839 - Система вентиляции топливного бака: обнаружена крупная утечка

тынц
bykot писал(а):16825 - Система вентиляции топливного бака: снижение пропускной способности

тынц

Аватар пользователя
DIA
Аццкий поломастер
Аццкий поломастер
Сообщений: 9329
Зарегистрирован: 27 июн 2009, 13:35
Темы: 13
Авто: Кузнечик корчваген. 1.9 TDI ALH.
Имя: Игорь.
Откуда: Минск.
Статус: Не в сети

Сообщение DIA » 30 июн 2012, 08:57

bykot,
Да немучайся ты, есть решение проще и все тип топ 100% гарантия.
DIA писал(а):НА СТАРТЕ ОТ 350УЕ И тачку на недельку не менее надо оставить с полным баком документами.

:rofl: :rofl: :rofl:

Добавлено спустя 1 минуту 34 секунды:
Yusg писал(а):+ пару ящиков хорошей водки и женщин в салоне??? - в чем же причина???

Да и это конечно было бы неплохо но не входит в обязательное условие. :hahaha: :hahaha: :hahaha:

Добавлено спустя 5 минут 50 секунд:
bykot писал(а):Тест в 70 блоке показывает все ок буквально за пару секунд,

Чушь собачья, выкинь нах свой вцдс шмес брешет гнусно брешет, не может такого быть или просто неправильно кнопки тискаешь, дядя вася этот тест по утечке делает до десяти минут а то и больше, но никогда не меньше минут трех-пяти.

Добавлено спустя 2 минуты 28 секунд:
bykot писал(а):Тест в 70

Да и что это за тест и что он делает накачивает откачивает, герконы проверяет, что за тест? Для проверки чего он служит?
Хозяин гатово! что сделали? нет сломали.

Аватар пользователя
bykot
Мастер
Мастер
Сообщений: 2961
Зарегистрирован: 06 июн 2011, 11:34
Темы: 24
Авто: A6 C6 3ТDI ATQ, A4(B6),1.8T,6АКПП
Имя: Максим
Откуда: Минск-Синявка
Контактная информация:
Статус: Не в сети

Сообщение bykot » 30 июн 2012, 09:35

DIA, насчет условий и финансовой стороны ремонта ознакомлен. :drinks: :stars:
Проблема не столько критичная, просто появилось немного времени и совсем чуточку денег и БОЛЬШОЕ желание разобраться в работе этой системы.
По поводу теста в 70 канале:
вошел в базовые установки, ввел 70 канал,
1 окно - нули - я так понял показывает открытие клапана N80
2 окно - лямбдарегулирование
3 окно - вроде пустое было (не помню)
4 Test OFF (Пишу по памяти, после сна :) )
завожу авто, машина работает на холостых оборотах.
наживаю 1 раз кнопку "Вкл/Выкл/Далее"
Наблюдаю как начинают изменяться цифры во 2 окне и через некоторое время расти процент в окне 1.
В определенный момент он достигает 100 и снова сбрасывается (устанавливается в 0).
в 4 окне появилась надпись ADP OK. Из чего я сделал вывод, что тест прошел успешно.
Посмотрел ошибки в блоке управления, все пусто.

Если я что-то сделал не так в своих действиях в проведении теста, буду рад замечанием и волшебному пинку в правильном направлении :)

На данный момент вычитал, что можно проверить еще 71 канал - проверка герметичности бака.

Собственно свои дилетанские мысли. до замены N80 была только ошибка 16825, о слабой пропускной способности, что собственно не позволяло системе провести самой тест на герметичность, при установке нового клапана N80 получаем ошибку 16839, т.е. тест запускается, но где-то может быть проблемы с соединениями или самими шлангами или насосом, который проводит диагностику, или абсорбером (угольным фильтром). после данной ошибки происходит отключение работы например клапана N80 или какого другого элемента и как следствие получение той же ошибки 16825.

P.S. Конечно решить проблему интересно, чтобы заработало как нужно, но если оценивать материальную сторону, вопроса в р-не 300 уе, можно сделать чип двигателя с отключением данной системы проверки герметичности.
https://www.drive2.ru/r/audi/a6_avant/469035993442288582/

Аватар пользователя
DIA
Аццкий поломастер
Аццкий поломастер
Сообщений: 9329
Зарегистрирован: 27 июн 2009, 13:35
Темы: 13
Авто: Кузнечик корчваген. 1.9 TDI ALH.
Имя: Игорь.
Откуда: Минск.
Статус: Не в сети

Сообщение DIA » 30 июн 2012, 09:50

bykot писал(а):P.S. Конечно решить проблему интересно, чтобы заработало как нужно, но если оценивать материальную сторону, вопроса в р-не 300 уе, можно сделать чип двигателя с отключением данной системы проверки герметичности.

Ну что ж ты меня так нелюбишь, и что я те такого плохого сделал что не хочешь поддержать мое финансовое положение, а то лаптем щы хлебаю на папиросы бабла нету махорочкой перебиваюсь. :pray:
bykot писал(а):На данный момент вычитал, что можно проверить еще 71 канал - проверка герметичности бака.

Я думаю вот это вам и надо. Дело все в том что я незнаю какие кнопки надо тискать на вцдээсах шмэсах и ваг комах, дядя вася ведет как на допросе да нет и какие каналы он набирает я незнаю и он не показывает да и знать я нехочу, но он ведет от начала и до канца теста по ошибке с указаниями что проверить и как а потом на 99% процентов выносит правильный вердикт.
Да и еще нах этот чип делать можно проще изолентой этого гадкого джеки чана замуровать. :rofl:
Хозяин гатово! что сделали? нет сломали.

Аватар пользователя
bykot
Мастер
Мастер
Сообщений: 2961
Зарегистрирован: 06 июн 2011, 11:34
Темы: 24
Авто: A6 C6 3ТDI ATQ, A4(B6),1.8T,6АКПП
Имя: Максим
Откуда: Минск-Синявка
Контактная информация:
Статус: Не в сети

Сообщение bykot » 30 июн 2012, 10:04

Ну что ж ты меня так нелюбишь, и что я те такого плохого сделал что не хочешь поддержать мое финансовое положение, а то лаптем щы хлебаю на папиросы бабла нету махорочкой перебиваюсь.

Я Вас очень уважаю и первой необходимости ремонта еду к Вам. И рад что помогаете!
Но в своей жизни хочется узнать чего-то нового, пусть и не разберусь, времени не жаль, если оно есть.
Да и еще нах этот чип делать можно проще изолентой этого гадкого джеки чана замуровать.

Данный вариант даже не рассматривается, он присущ для большинства перекупов авто, которые прям на рынке и красят и мажут и ремонтируют :rabota1:
А Васи нету, придется :kurevo: VCDS.
https://www.drive2.ru/r/audi/a6_avant/469035993442288582/

Аватар пользователя
DIA
Аццкий поломастер
Аццкий поломастер
Сообщений: 9329
Зарегистрирован: 27 июн 2009, 13:35
Темы: 13
Авто: Кузнечик корчваген. 1.9 TDI ALH.
Имя: Игорь.
Откуда: Минск.
Статус: Не в сети

Сообщение DIA » 30 июн 2012, 10:15

bykot писал(а):Я Вас очень уважаю и первой необходимости ремонта еду к Вам. И рад что помогаете!

Люблю когда хвалят, слушай подъедь ты после праздников пощупаем, а это же шутки все.
DIA писал(а):НА СТАРТЕ ОТ 350УЕ

А если буш сам винты гайки и шланги осоединять подъсоединять куда я те буду указывать (не я вася) тебе вообще стоить ничего небудет но с тебя пачка папирос и чайку. ;)
Хозяин гатово! что сделали? нет сломали.

Аватар пользователя
bykot
Мастер
Мастер
Сообщений: 2961
Зарегистрирован: 06 июн 2011, 11:34
Темы: 24
Авто: A6 C6 3ТDI ATQ, A4(B6),1.8T,6АКПП
Имя: Максим
Откуда: Минск-Синявка
Контактная информация:
Статус: Не в сети

Сообщение bykot » 30 июн 2012, 10:33

DIA, все понял. Спасибо! Как только соберусь, наберу, так как мой тест заключается в следующем, есть 30-60 мин свободного времени, пошел и поковырялся, дальше чтение и анализ :) . А сча и расширение семьи ожидается на днях, дай Бог, так что думаю не после выходных, а как уж получиться у меня и как у Вас. А крутить - это я всегда с радостью :), не ради экономии, а ради бесценного опыта!
https://www.drive2.ru/r/audi/a6_avant/469035993442288582/

Bob29
Новичок
Новичок
Сообщений: 5
Зарегистрирован: 05 май 2011, 12:14
Темы: 0
Авто: A6
Имя:
Статус: Не в сети

Сообщение Bob29 » 21 ноя 2012, 22:44

Bob29 писал(а):DIA, дай пожалста свой телефон, можно в личку.


Попробую на вирши тебя выловить :so_happy: , я наверно последний на этой ветке кто ездит с этой дурацкой ошибкой Р0441

Р0441 и DIA посвящается.
Bob 29

«ОШИБКА 441»
Загорелся «Check» в обед
Не видать его б сто лет
Попинал по колесу –
Не погас , но я не Ссу,

Заглянул в техмануал
столько схем – кураж пропал
Обратился к ДИА я
Не ответил ни …уя

Сеть закинул в интернет, поискал …
Контактов нет,
Дядька ДИА дай ответ
ДАШЬ СВОЙ АДРЕС ИЛИ НЕТ!!!

Аццкий мастер, спору нет
Но к клиентам тяги нет
Или может взял обет
Ауди, Фольксваген – НЕТ !!!

Если выйдешь когда в NET
Дай пожалуйста совет
Клапан ставить в зад аль в перед (№ 80)
Дроссель чистить или нет

Вымолви, родной, ответ –
Жить машине али нет.
Ну а если снизошедши
Восстановишь драндулет
Мой земной тебе RESPEKT :D

Аватар пользователя
bykot
Мастер
Мастер
Сообщений: 2961
Зарегистрирован: 06 июн 2011, 11:34
Темы: 24
Авто: A6 C6 3ТDI ATQ, A4(B6),1.8T,6АКПП
Имя: Максим
Откуда: Минск-Синявка
Контактная информация:
Статус: Не в сети

Сообщение bykot » 22 ноя 2012, 08:41

Bob29 писал(а):
Bob29 писал(а):DIA, дай пожалста свой телефон, можно в личку.


Попробую на вирши тебя выловить :so_happy: , я наверно последний на этой ветке кто ездит с этой дурацкой ошибкой Р0441

К ДИА с этой проблемой не ездил, но и сам покуда не решил.
Ошибка появляется время от времени, после смен клапана, была все реже, сча снова достаточно часто.
https://www.drive2.ru/r/audi/a6_avant/469035993442288582/

Аватар пользователя
DIA
Аццкий поломастер
Аццкий поломастер
Сообщений: 9329
Зарегистрирован: 27 июн 2009, 13:35
Темы: 13
Авто: Кузнечик корчваген. 1.9 TDI ALH.
Имя: Игорь.
Откуда: Минск.
Статус: Не в сети

Сообщение DIA » 22 ноя 2012, 18:11

bykot писал(а):К ДИА с этой проблемой не ездил,

Bob29,
Да ребята.... вы не вкурсах наверное.
Последний раз редактировалось Интелегент 12 янв 2013, 18:51, всего редактировалось 1 раз.
Хозяин гатово! что сделали? нет сломали.

Аватар пользователя
Юра 80
Аудивод
Аудивод
Сообщений: 20894
Зарегистрирован: 12 июн 2009, 19:41
Темы: 423
Имя:
Статус: Не в сети

Сообщение Юра 80 » 22 ноя 2012, 20:07

     Оффтопик:
Bob29, отлично! :good:

Bob29
Новичок
Новичок
Сообщений: 5
Зарегистрирован: 05 май 2011, 12:14
Темы: 0
Авто: A6
Имя:
Статус: Не в сети

Сообщение Bob29 » 22 ноя 2012, 22:28

Очень жаль ДИА...
bykot и я остались непочиненными.
У меня сияют Р0441, Р1602, Р1129. На запуске первую минуту необходимо хорошо подгазовывать, иначе глохнет.
Может кто-нибудь знает хорошего спеца, который успешно лечит подобные неприятности.

mezen
Наездник
Наездник
Сообщений: 493
Зарегистрирован: 26 июн 2010, 21:44
Темы: 3
Авто: A4 B6 2004 1.8 TQ AMB 6-МКПП
Имя:
Статус: Не в сети

Сообщение mezen » 24 ноя 2012, 23:34

Дай бог здоровья DIA, сам у него был, но если глохнет если не подгазовать - значит хороший подсос воздуха во впускной коллектор, эти ошибки двигло не должны глушить, если нет подсоса. А вообще - програмно откл. насос проверки топливного бака на герметичность (вместе со 2-ой лямбдой и СВВ - экология однако) и дело с концом!
IHI Turbo 2.0TSI, Front intercooler, Powered by SergeyNik, ET 14,7

Аватар пользователя
bykot
Мастер
Мастер
Сообщений: 2961
Зарегистрирован: 06 июн 2011, 11:34
Темы: 24
Авто: A6 C6 3ТDI ATQ, A4(B6),1.8T,6АКПП
Имя: Максим
Откуда: Минск-Синявка
Контактная информация:
Статус: Не в сети

Сообщение bykot » 15 апр 2013, 16:42

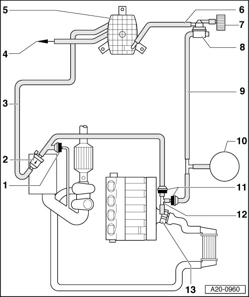
Пришла весна, чешутся руки снова разобраться с системой EVAP, так как ошибка по 16825 стала вылетать чаще (км 100 проезжаю по городу, не больше), после заменены клапана N80, мог проехать до 400 км по городу и все ок.
Прилагаю схема для более понятного объяснения, надеюсь:
схема.png
схема вентиляции топливного бака

1-обратный клапан развязки системы вентиляции (турборежим/режим ХХ)
2-клапан вентиляции бака N80
3-трубка на адсорбер
4-трубка к топливному баку
5-адсорбер
6-трубка на диагностический насос
7-фильтр диагностического насоса
8-диагностический насос
9-трубка к диагностическому насосу
10-Вакуумный резервуар
11-Обратные клапан
12-Тройник
13-дроссельная заслонка

Так вот:
1. Чищу ошибки блока 01 (двигателя).
Запускаю тест в 70 группе проходит некорректно (ADP Not Ok). В результате теста появляется ошибка 16825.
После замены клапана N80 проходил.

2. Чищу ошибки блока 01 (двигателя).
Запускаю тест в 71 группе не проходит некорректно (ADP Not Ok), тест идет больше. В результате теста появляется ошибка 16839.

Я так понимаю для начала нужно решить ошибку 16825.
Possible Solutions
1.Check Evaporative Emission (EVAP) Canister Purge Regulator Valve (N80)
Perform Output Test
2.Check Evaporative Emission (EVAP) Canister Purge Solenoid Valve (N115)
3.Check Evaporative Emission (EVAP) Canister
Perform Basic Setting
4.Check Pipes between Tank Breathing and Throttle Body

Сейчас о тестах, которых провел:

1.Check Evaporative Emission (EVAP) Canister Purge Regulator Valve (N80)
Perform Output Test

1. Запустил Output Test.
До теста клапан (схема п.2) не продувается ни в одну из сторон. При запуске теста клапан щелкает продувается в сторону к баку (т.е. против стрелки), от бака не продувается.
собственно вопрос: это корректная работа?

Дальше вопросы:
2.Check Evaporative Emission (EVAP) Canister Purge Solenoid Valve (N115)

где находиться клапан N115? и как его проверить?
есть подозрение, что этот п.11 на схеме.

3.Check Evaporative Emission (EVAP) Canister
Perform Basic Setting

а что это за тест?

4.Check Pipes between Tank Breathing and Throttle Body

Я так понимаю проверить трубки соединяющий бак и дроссельную заслонку. т.е.схема между п.2 и 5, 2 и 11, 11 и 12, 12 и 13.
Как правильно их диагностировать? отдельно от п.11? на дырявость или треснутость?
какое максимальное давление можно подавать, чтобы ничего не лопнуло и правильно был опроверено.

P.S. Конечно вопросов еще много, но покуда только эти.
https://www.drive2.ru/r/audi/a6_avant/469035993442288582/


Вернуться в «Топливная система»

Кто сейчас на форуме

Количество пользователей, которые сейчас просматривают этот форум: нет зарегистрированных пользователей и 1 гость